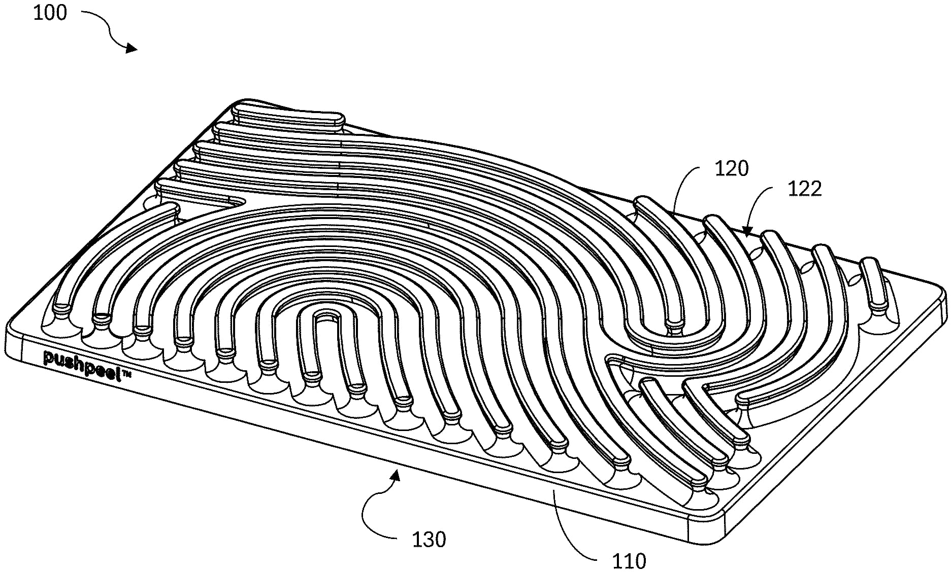
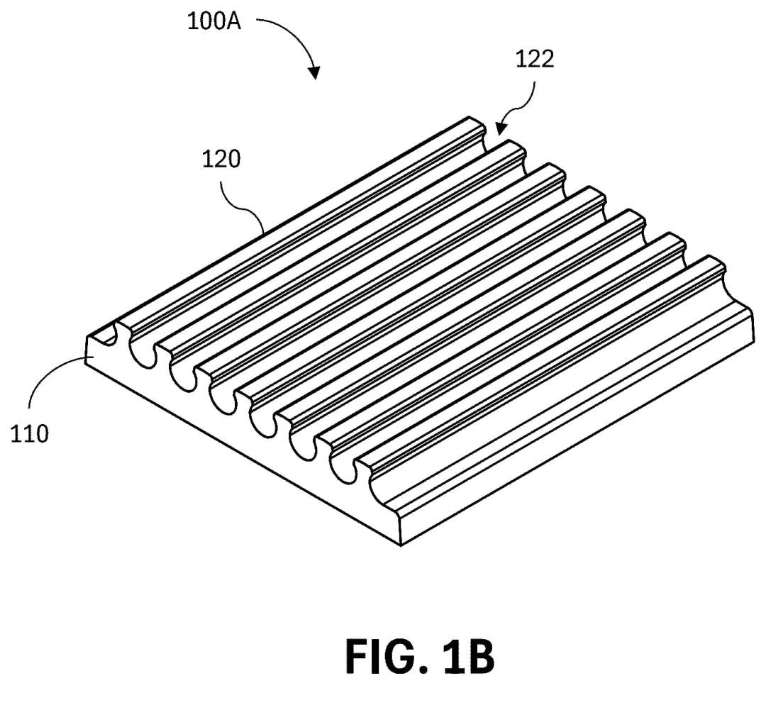
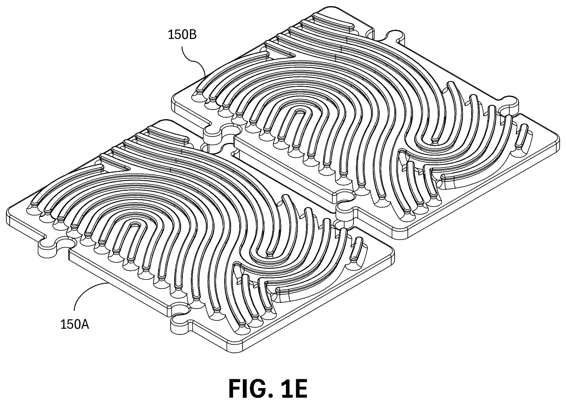
案件信息 原告品牌:感官活动玩具 原告公司:Pushpeel LLC 案件编号:25-cv-1957 起诉类型:专利 原告律所:Ference & Associates 起诉时间:2025/12/16 品牌介绍 Pushpeel LLC 是美国知名感官玩具品牌,专注于设计安全、环保、富有趣味的触觉玩具,帮助儿童和成人提升专注力、锻炼手部精细动作,并缓解压力。品牌产品包括感官活动板和各类触觉玩具,广泛适用于家庭、学校及治疗环境,以“无噪音、无屏幕、无混乱”的理念打造高品质互动体验。 专利信息 本案涉及的专利信息如下,申请日期为2024年11月14日,下证日期为2025年11月25日。请卖家们仔细排查,避免侵权! 产品示例 免责声明:图片来源于公开渠道,仅供参考,如有侵权请联系删除。






