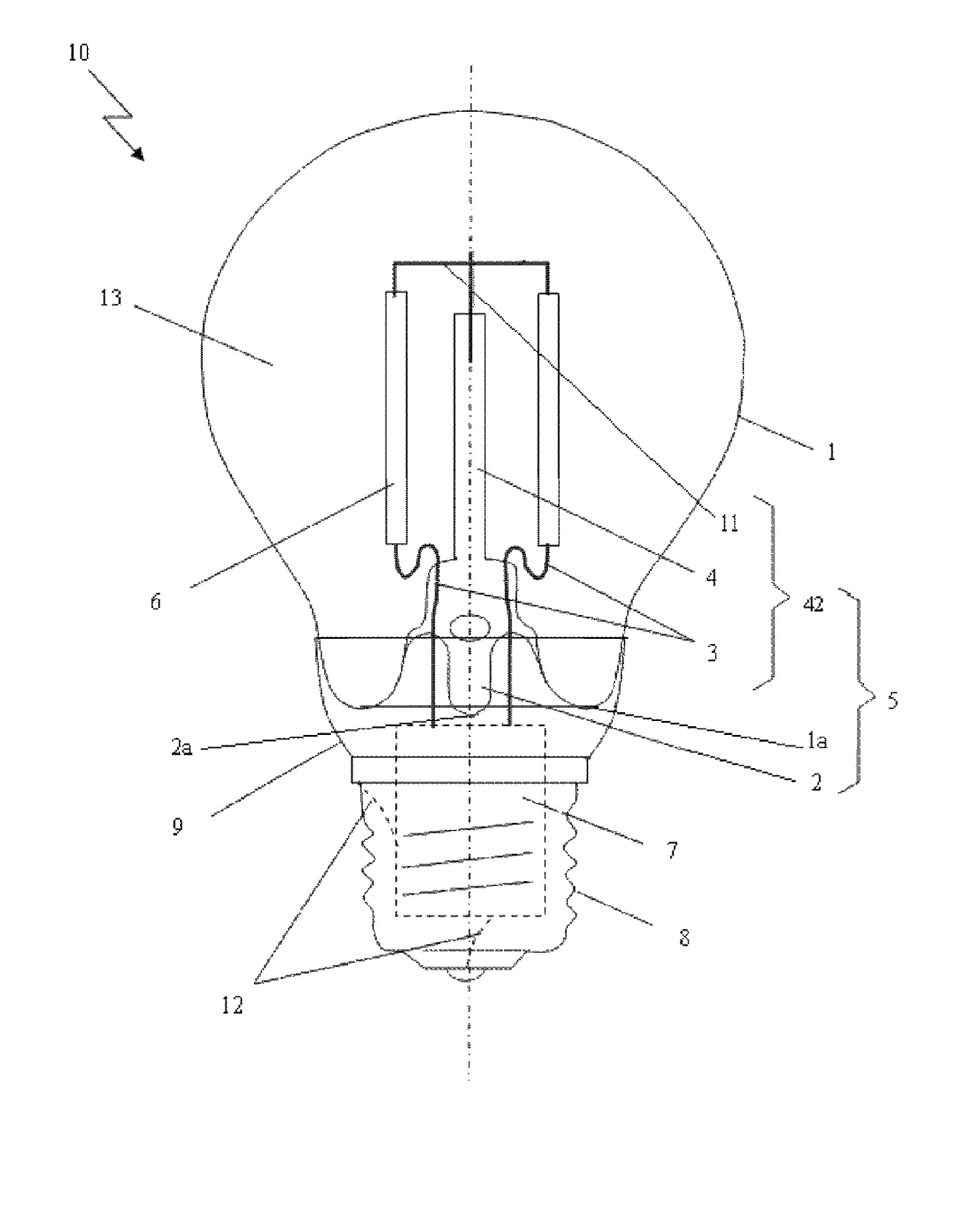
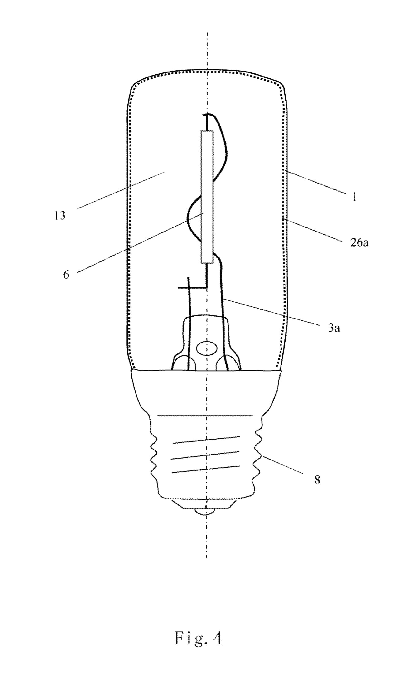
案件信息 原告品牌:4π发光LED灯泡及LED发光条 原告公司: Hangzhou Yilai Lighting Technology Co., Ltd 案件编号:26-cv-4643 起诉类型:专利 原告律所:Delta Ip Law PLLC 起诉时间:2026/4/23 品牌介绍 Hangzhou Yilai Lighting Technology Co., Ltd是一家位于浙江杭州的照明科技企业,业务方向主要围绕 LED 照明产品展开。其产品线涵盖 LED 灯泡、LED 灯丝灯、烛形、复古装饰灯及节能照明产品等,重点面向家居照明、商业照明及跨境电商销售场景。 专利信息 本案涉及的专利信息如下,申请日期为2012年2月29日,下证日期为2016年2月16日。在此日期后上架的相关产品都有侵权风险,请卖家们仔细排查,避免侵权! 产品示例 免责声明:图片来源于公开渠道,仅供参考,如有侵权请联系删除。









